Динамика. Законы сохранения. Статика
Задача: Два тела связаны нитью, перекинутой через блок. Определить ускорение тел.
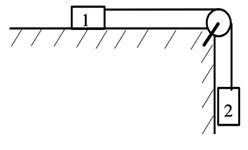
Полный текст: Два тела массой m1 = 1 кг и m2 = 2 кг связаны нитью, перекинутой через блок массой 1 m= кг. Определить ускорение тел, если коэффициент трения тела 1 о плоскость стола μ = 0,1.

Вы можете купить решение этой задачи за 50 руб.






